Все, что Вы не знали о водоотведении, но боялись спросить
Крыша – верхняя ограждающая конструкция здания. Состоит из несущей части (стропил, ферм, прогонов, панелей и т.п.), передающей нагрузку от снега, ветра и собственного веса крыши на стены и отдельные опоры, и наружной оболочки — Кровли. Крыши устраивают чердачные и бесчердачные. Чердачная крыша бывает утеплённая или холодная. Холодная крыша защищает здание только от атмосферных осадков; теплозащита помещений верхнего этажа обеспечивается чердачным перекрытием. В бесчердачных крышах последняя выполняет одновременно и функции чердачного перекрытия; в этом случае крыши называют покрытием, или совмещенной крышей.
Кровля здания, сооружения – верхнее ограждение (оболочка) крыши или покрытия здания (сооружения), непосредственно подвергающееся атмосферным воздействиям. Состоит из водоизолирующего слоя и основания (обрешётки, сплошного настила, стяжки), укладываемого по несущим конструкциям либо по утеплению (в совмещенных покрытиях). Кровля должна быть лёгкой, долговечной, экономичной в изготовлении и эксплуатации, отвечать условиям пожарной безопасности. (Большая Советская Энциклопедия)
Итак, крыша – важнейшая часть здания, которая защищает и само здание, и людей, находящихся в нем, от негативных воздействий окружающей среды в виде дождя и снега, солнечной радиации, ветра, жары и холода, и т.п. Понятно, что требования, предъявляемые к крыше, определяются характером этих негативных воздействий. Но основным требованием – является БЕЗОПАСНОСТЬ людей. В России произошло несколько трагедий, приведшие к многочисленным человеческим жертвам, Это обрушение крыш бассейна в Чусовом (Пермский край) (04.12.2005) и здания Басманного рынка (23.02.2006), причем одна из главных причин обрушения последнего – негерметичность гидроизоляционного покрытия, что в итоге привело к разрушению несущей части крыши.
В связи с вышесказанным, при строительстве зданий различного назначения необходимо обеспечить полную водонепроницаемость кровли. Огромный выбор систем гидроизоляции кровли, начиная от «простых» гаражей и балконов и заканчивая системами для жилых и общественных зданий и сооружений (включая кровли с озеленением), требуют системного подхода и высокого профессионализма специалистов. Это тем более важно, так как вопросы создания крыши в равной степени зависят и от архитекторов – конструкторов, и от проектировщиков ВК (ВиВ), и от строителей, и от кровельщиков, и от производителей кровельных материалов. В настоящее время на Российском рынке используется только гидроизоляционных материалов более 300 различных марок и типов. Ошибки при выборе материала и/или его укладке исправить довольно затруднительно, они требуют больших временных и материальных затрат. Поэтому, уже на стадии проектирования необходимо устанавливать критерии, определяющие долговечность гидроизоляционного покрытия, особенно узлов прохода через крышу различных инженерных коммуникаций, в данном случае речь идет о системе внутренних водостоков. Плоской кровле часто не достает уклона для быстрого отвода дождевых вод. В связи с этим необходимо обеспечить надежное отведение воды с гидроизоляции. Следовательно, одним из важнейших элементов в составе покрытия зданий является водосточная воронка, от конструкции которой, места ее расположения и сопряжения с водоизоляционным ковром (воронка находится в самом низком месте кровли) зависит надежность покрытия и БЕЗОПАСНОСТЬ нижерасположенных помещений.
В СНиП II-26-76 «Кровли» и ряде руководств по кровлям из различных материалов рекомендуются чугунные воронки. В связи с применением новых материалов, проектированием и вводом в эксплуатацию большого количества комбинированных, инверсионных, эксплуатируемых кровель и увеличением сроков безремонтных работ на кровлях, применение чугунных воронок не всегда возможно и экономически не оправдано. Фирма HL Hutterer & Lechner GmbH (Австрия) производит большую номенклатуру кровельных воронок и комплектующих изделий для отвода воды с кровель, которые начали применяться в России с начала 2000 года. В помощь архитекторам, проектировщикам ВК и кровельщикам было разработано «Руководство по применению в кровлях воронок «HL» фирмы HL Hutterer & Lechner GmbH (Австрия)» МДС 12-36.2007 ОАО «ЦНИИПромзданий». Дополнительно, фирмой HL разработана компьютерная программа по подбору кровельных воронок, отвечая на вопросы которой по наполнению кровельного «пирога» Вы получаете эскиз узла в двух форматах: .dxf (AutoCAD) и .pdf (Adobe Reader).
.jpg)
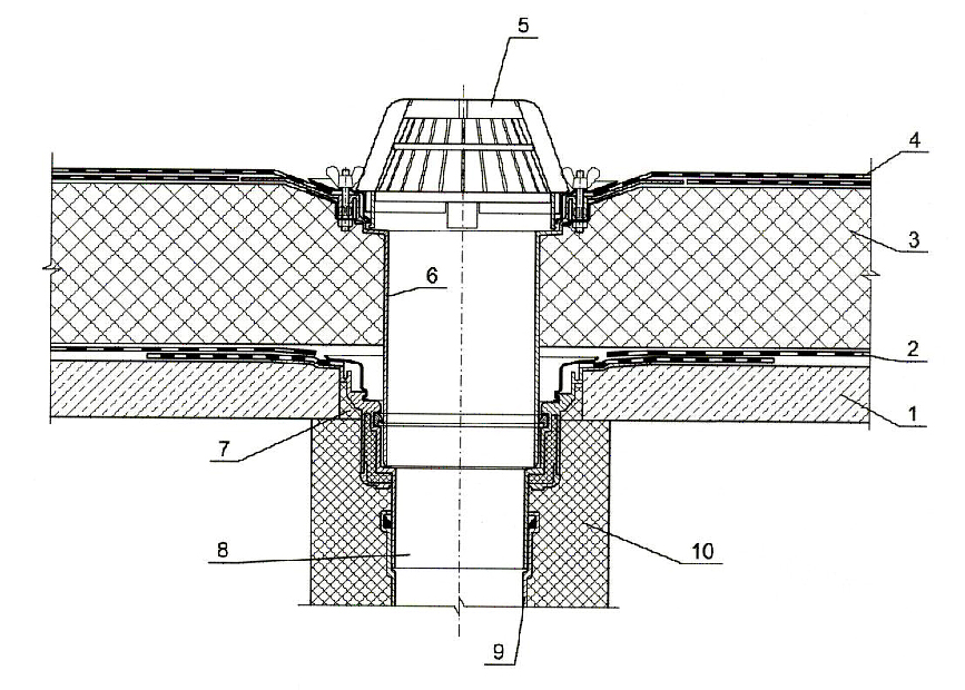
Рис. 1. Воронка внутреннего водостока
1 - сборная железобетонная плита покрытия; 2 - пароизоляция (по расчету);
3 - теплоизоляция; 4 - выравнивающая стяжка; 5 – основной
водоизоляционный ковер; 6 - дополнительный водоизоляционный ковер;
7 - защитный слой; 8 - колпак водоприемной воронки; 9 - легкий бетон выравнивающего слоя ендовы; 10 - водоприемная чаша; 11 - уплотнитель
Причины, приводящие к протечкам, проще всего рассмотреть на примере типового узла установки чугунной воронки на традиционной кровле (Рис. 1).
Причина № 1. Воздействие температуры окружающего воздуха. Летом кровля может нагреваться до + 80˚С, а зимой может охлаждаться до – 35˚С (в Москве). Перепад температуры составляет больше 100˚С. Любые гидроизоляционные материалы – это полимеры. Коэффициент линейного расширения у полимеров в 20 раз больше, чем у чугуна. Поэтому гидроизоляция, прижатая чугунным фланцем к корпусу воронки, всегда находится под напряжением. При высокой температуре – гидроизоляция упирается во фланец (ей некуда расширяться), а при низкой – гидроизоляцию вырывает из под фланца. Если взять стальной лист и сгибать/разгибать его – он сломается. Тоже происходит и с гидроизоляцией. По статистике 95% протечек происходит в месте примыкания гидроизоляции к фланцу чугунной воронки.
Причина № 2. Так как воронка имеет только один фланец, то герметично соединить с ним мы можем либо гидроизоляцию, либо пароизоляцию. Таким образом, соединение пароизоляции с воронкой негерметично. Пары воды из теплого помещения проникают в утеплитель и увлажняют его. В качестве утеплителя на традиционных кровлях применяется минвата, стекловата и даже керамзит. Эти материалы гигроскопичны, т.е. обладают способностью накапливать в себе воду. Намокший утеплитель теряет теплоизоляционные свойства, что приводит к промерзанию кровли в холодный период. Температура внутренней поверхности несущего основания опускается ниже точки росы и и уже на этой поверхности начинается конденсация паров воды. Количество влаги, которая конденсируется на перекрытии, можно себе представить на простом примере: все видели – как «потеет» летом стояк с холодной водой! Итог: крыша «потекла», хотя гидроизоляция не нарушена!
Причина № 3. Влага, которая конденсируется в утеплителе, зимой замерзает. Объем, который занимает вода в виде льда больше, чем в жидком состоянии. Это приводит к тому, что кровельную воронку «выпирает» из кровли, т.е. воронка уже не является нижней точкой водосбора. Таким образом, вода не отводится с гидроизоляции, и, со временем, проникает в ниже лежащие слои (диффузия), т.е. в утеплитель. Утеплитель намокает, площадь намокшего утеплителя увеличивается, воронку поднимает еще выше над гидроизоляцией, площадь «лужи» вокруг воронки увеличивается и т.д. – этот процесс повторяется снова и снова… Если в качестве утеплителя используются негигроскопичные материалы (например, экструзионный пенополистерол), то влага скапливается под гидроизоляцией. В теплую погоду пары воды расширяются, что приводит к отслаиванию гидроизоляции от основания и образованию «пузырей», зимой – лед (замерзшие пары воды) приводят к тому же результату.
В заключение надо сказать, что ремонт кровель – латание дыр или даже полная замена гидроизоляции на протекающей кровле эффекта не дают! Причины, проводящие к протечкам, не устраняются. Стоимость проведения капитального ремонта кровли, как правило, вдвое дороже новой, так как надо снять все слои вплоть до несущего основания, утилизировать эти материалы, и только потом делать кровлю заново!
.jpg)
1 – плита покрытия; 2 – пароизоляция; 3 – теплоизоляция;
4 – водоизоляционный ковёр; 5 – листвоуловитель воронки HL62H;
6 – надставной элемент HL 65; 7 – заделка утеплителем (пенополиуретаном); 8 – корпус воронки HL 62H; 9 – водосточная труба; 10 – утепление воронки (для исключения выпадения на её поверхности конденсата).
Как же решаются эти проблемы с использованием воронок HL.
Во–первых, кровельные воронки и все дополнительные элементы к ним производятся из ПП (полипропилен). Коэффициенты линейного удлинения ПП и гидроизоляционных материалов близки.
Во–вторых, кровельная воронка всегда устанавливается на уровне пароизоляции, при этом чаша воронки жестко крепится к несущему основанию, в соответствии с п. 4.6. СНиП II-26-76 «Кровли» (Рис. 2). Воронки выпускаются трех типов под разные виды гидроизоляционных материалов (полимербитумное полотно, ПВХ-фланец и обжимной фланец для EPDM-мембран), по этому воронка выбирается в зависимости от материала пароизоляции. Пароизоляция герметично соединяется с чашей воронки.
В–третьих, в воронку устанавливается надставной элемент с таким расчетом, чтобы его чаша оказалась на уровне гидроизоляции. Принцип выбора надставного элемента такой же, как при подборе воронки, т.е. в зависимости от типа гидроизоляции, которая герметично соединяется с чашей надставного элемента.
В–четвертых, надставной элемент герметично соединяется с воронкой при помощи уплотнительного кольца.
Таким образом, вода не может попасть в утеплитель ни сверху, ни снизу, ни из самой воронки! Такая кровля будет служить надежно и долго, так как мы практически устранили все причины, приводящие к протечкам.
В последнее время большое распространение получили бесчердачные кровли и, если место установки воронки попадает над жилыми помещениями, воду с такой кровли чугунными воронками отвести невозможно (см. п. 17.10. СНиП 2.04.01-85* «Внутренний водопровод и канализация зданий»)! Для водоотведения с таких кровель рекомендуется применять воронки с горизонтальным выпуском.
Воронка жестко крепится к стяжке под водоизоляционный ковер, а отводящий трубопровод прокладывается (как правило) в утеплителе до какого-либо технического помещения, где можно уйти вниз канализационным стояком. Тип воронки выбирается в зависимости от материала гидроизоляции, как было указано ранее. В связи с тем, что отводящий трубопровод проходит в утеплителе, необходимо учитывать глубину промерзания в зависимости от климатических условий в месте будущего строительства. Надо заметить, что вода на кровле есть всегда, при любых температурах (меняется только ее количество). Поэтому, фирма HL рекомендует руководствоваться следующими правилами, а именно:
1. Горизонтальный трубопровод от воронки до вертикального стояка рекомендуется выполнять Ø 75 мм, так как ее легче разместить в кровельном пироге, а переходник 75/110 устанавливать в месте присоединения к вертикальному стояку. Причем, максимальная пропускная способность воронки DN75 составляет 7,83 л/с, а воронки DN75/110 – 7,18 л/с.
2. Если выпуск кровельной воронки находится выше границы промерзания, то, для предотвращения образования ледяных пробок в выпускном патрубке, необходимо применять воронки с встроенным электрообогревом. Если расстояние от воронки до теплого помещения превышает 1 м, то рекомендуется обогревать и горизонтальный трубопровод.
Пункт 2 очень важен! В случае образования ледяной пробки в выпускном патрубке воронки или горизонтальном трубопроводе утеплитель будет препятствовать поступлению тепла, т.е. выполнять роль термоса. Поэтому лед может сохраняться очень долго, вследствие этого, вода с кровли отводиться не будет, что неизбежно приведет к протечкам. Замена воронки или ремонт отводящего трубопровода более дорог, чем, например: замена воронки с вертикальным выпуском, так как необходимо вскрывать большую площадь кровли.
Для водоотведения с облегченных кровель применяются специальные воронки с монтажным коробом (Рис.4–5), который позволяет жестко крепить ее к несущем основанию (см. п. 4.6. СНиП II-26-76 «Кровли»).
Рис. 4. Водосточная воронка на покрытии Рис. 5.Примыкание изоляционных слоев к воронке HL 63на плоском покрытии
Срок службы любой крыши определяется прежде всего целостностью кровли, т.е. гидроизоляционного слоя, который непосредственно подвергается неблагоприятным атмосферным воздействиям: большому перепаду температур, циклам замораживания – размораживания, ультрафиолетовому излучению, ветровым нагрузкам, механическим нагрузкам и т.п. Все это приводит к старению гидроизоляционных материалов и, в конечном итоге, к их разрушению! Для того чтобы продлить безремонтный период эксплуатации кровель была придумана так называемая «перевернутая» или инверсионная кровля, в которой основной гидроизоляционный слой укладывается на основание, а все остальные слои кровли находятся над гидроизоляцией. Что это дает? Так как гидроизоляция находится под утеплителем, то она круглый год работает при температуре 18-20˚С, ветровых нагрузок нет, механически повредить ее очень сложно, нет воздействия УФ-излучения. Но такая кровля более сложна, чем традиционная. Поэтому требует высокой квалификации архитекторов, строителей и тех, кто будет эксплуатировать такую кровлю; более качественных, следовательно, более дорогих материалов; новых решений при организации водоотведения, так как вода присутствует во всех слоях кровли и эту воду надо принять и отвести в канализацию (Рис. 5 и 6)! Выше говорилось, что капитальный ремонт вдвое дороже новой кровли, так вот: инверсионная кровля позволяет увеличить безремонтный период (по сравнению с традиционной) в 5–6 раз!!!
.jpg)
Рис. 6. «Зеленая» кровля с инверсионным покрытием и водосточной воронкой HL62Н
1 – несущая железобетонная плита; 2 – дополнительный слой (усиление
ендовы); 3 – водоизоляционный ковер; 4 - теплоизоляция из
экструдированного пенополистирола; 5 - разделительный слой;
6 - фильтрующий слой (геотекстиль); 7 - полимерный материал
гофрированной структуры (ячеистой формы); 8 - почвенный слой;
9 – растения; 10 - засыпка гравием вокруг воронки; 11 –листвоуловитель
воронки HL62H; 12 - дренажное кольцо HL160; 13 – удлинитель HL 350;
14 – надставной элемент HL 350.1; 15 – корпус воронки HL62Н;
16 - утепление воронки и водосточной трубы; 17 – водосточная труба (ПВХ или ПП)
.jpg)
Рис. 7. Эксплуатируемая кровля с инверсионным покрытием и водосточной воронкой HL62B
1 – несущая железобетонная плита; 2 – дополнительный слой (усиление ендовы); 3 - водоизоляционный ковер; 4 - теплоизоляция из экструдированного пенополистирола; 5 - разделительный слой;
6 - фильтрующий слой (геотекстиль); 7 - засыпка из гравия; 8 - тротуарная плитка; 9 – трап воронки HL 62BH; 10 - дренажное кольцо HL160;
11 – надставной элемент HL 350.1; 12 - корпус воронки HL 62BH;
13 - водосточная труба (ПВХ или ПП); 14 - утепление воронки и водосточной трубы
В дополнение надо сказать следующее, понятие крыши включает в себя также террасы, стилобаты и другие искусственные основания. И, естественно, что каждая крыша имеет свои присущие только ей требования. Для отведения дождевых вод с балконов и террас не всегда удобно и целесообразно использовать кровельные воронки, о которых говорилось выше. Так как они имеют большие габариты и пропускную способность. Для организации внутреннего водостока на балконах и террасах можно использовать небольшие трапы и воронки, принцип монтажа и установки которых идентичны кровельным воронкам. Для стилобатов присуще требование по большим нагрузкам, т.е. на стилобат должен заезжать пожарный автомобиль для тушения здания. Поэтому в качестве воронок для стилобатов применяются трапы с допустимой нагрузкой до 15 тонн и пропускной способностью до 15 л/с (Рис. 8).
В заключение, необходимо сказать несколько слов о необходимости обогрева кровельных воронок. Единственное требование по обогреву воронок указано в примечании к п. 20.1. СНиП 2.04.01-85*, которое касается только холодных помещений. Поэтому считаем необходимым указать здесь рекомендации фирмы HL. Итак, применять воронки с обогревом необходимо:
Если применяются воронки и трапы с горизонтальным выпуском.
Если применяются воронки для эксплуатируемых кровель, особенно которые эксплуатируются в зимнее время. Так как снег и лед втаптываются в воронку и образуют в ней ледяную пробку.
Если применяются воронки для любых инверсионных кровель. Так как вода находится во всех слоях кровли, она будет замерзать. Оттаивание происходит сверху, и воронки эту воду должны отводить.
Во всех остальных случаях – на усмотрение заказчика. Но мы задавали этот вопрос большому числу специалистов, практически все сказали следующее: «Обогрев воронок способствует лучшему водоотведению? ДА! Поэтому, если такая возможность есть, применяйте воронки с обогревом».
В помощь архитекторам, проектировщикам и строителям мы готовы, безвозмездно, передать технический каталог продукции фирмы HL, программу подбора кровельных воронок и МДС 12-36.2007 ОАО «ЦНИИПромзданий».
Рис. 8. Воронка HL 616 (HL 616Н) стилобата
1 – монолитная железобетонная плита; 2 – пароизоляция; 3 - геотекстиль;
4 – теплоизоляция; 5 – разделительный слой; 6 – бетонная стяжка;
7 – кровельный ковер; 8 – асфальт (бетон, плитки и т.п.);
9 – бетон вокруг воронки; 10 – трап воронки HL 616 (HL 616Н);
11 – надставной элемент HL 618 (HL 618Н);
12 - обжимной фланец из нержавеющей стали HL 86.0;
13 – удлинитель HL 620; 14 – корпус воронки HL 616 (HL 616Н)